De spinnenweb antenne is een verkorte dipool die gevoed wordt door een symmetrische voedingslijn. Aan beide einden van de verkorte dipool wordt een spinneweb spoel geplaatst. De hier beschreven antenne is in principe voor 80 m bedoeld, maar met een antennetuner is hij volgens de ontwerper, NIco, PE1KQP, ook op 160m en de hogere amaterbanden (tot 10m) te gebruiken.
De antenne heeft een spanwijdte van 20 meter. Hij is 50 % korter dan een halve golf dipool.
Het rendement is op basis van de lengte berekend op 60%, maar vergelijkende metingen met een volledige halve golf antenne toonden aan dat het verschil minder is dan 3 dB (half S punt). (Noot van de redactie: Dat klopt natuurlijk. Bij 50% vermogensverlies verlies je 3dB en dat is een half S-punt. Dus met 60% rendement is het verschil t.o.v. een full size dipool inderdaad minder dan een half S-punt). De QSB maakte het onmogelijk om exacte metingen te doen, zo klein is het verschil.

Hoe wordt deze antenne gemaakt?
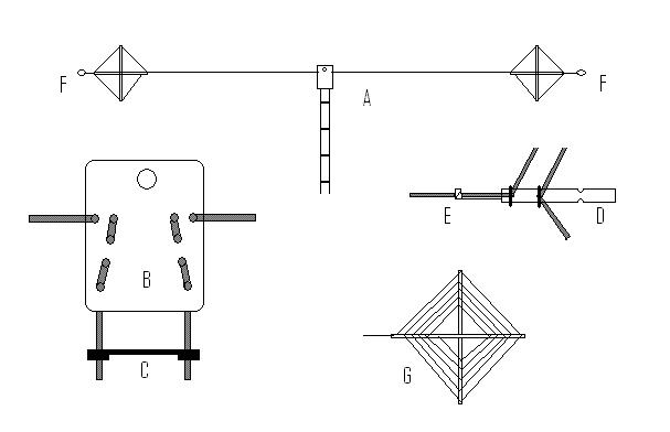
De antenne is gemaakt van 30 meter tweeling snoer, dat na het splitsen door een voorgeboord kunststof snijplankje getrokken wordt, totdat er aan een kant 10 meter draad zit en aan de andere kant 20 meter ( B ).
Het 10 meter lange stuk wordt voorzien van rozenclips (C ).
Vanaf het snijplankje ( het midden van de antenne ) wordt na 9 meter draad de resterende 11 meter op een kruis van slagvast PVC gewikkeld.
Dit kruis is gemaakt van 13 mm grijze PVC dat per lengte van 4 meter voor 3 euro te koop is.
De pijp wordt in 4 stukken van 1 meter verdeeld. Vervolgens boren we op 2 cm van het einde een gaatje door de pijp en dan om de 5 cm nog een zestal gaatjes, dit doen we ook aan de andere zijde van de pijp. Let erop dat de gaatjes evenwijdig aan elkaar zijn ( zie D ).
Nadat de vier pijpen van de gaatjes voorzien zijn nemen we twee pijpen en plakken met tape deze in het midden kruislings aan elkaar. De gaatjes moeten aan de zijkant van het kruis zitten ( D ).
Het wikkelen
Door een van de gaatjes op 2 cm van het einde steken we een kabelbinder en bevestigen het 9 meterpunt vervolgens draaien we her kruis een kwart slag en bevestigen het volgende punt en gaan zo verder tot we rond zijn. Als we rond zijn dan zetten de draad onder het beginpunt vast en verschuiven de draad net zo lang tot het kruis weer haaks is. Nu wikkelen we de draad op dezelfde manier spiraalsgewijs van buiten naar binnen op het kruis en zetten de draad met de kabelbinders vast ( zie G ). Let op dat je UV bestendige kabelbinders gebruikt.
Vervolgens wordt de andere spinnewebspoel gemaakt.
De bevestiging
Voor de bevestiging gebruik je een kunststof koord dat door de horizontale PVC pijp getrokken wordt en met een schootsteek aan de antennedraad bij het 9 meterpunt geknoopt wordt ( E ).
Het andere einde van het koord wordt voorzien van een lus ( paalsteek F ).
http://pe1kqp.radiotreffen.nl/